hga025怎么登录 _李亚鹏否认丽江项目失败,称开盘就是丽江销售第一,两年卖了70个亿
时间:2025-06-03 阅读:5836 评论:152
皇冠欧冠联赛


李亚鹏持股公司又遭强执hga025怎么登录 !
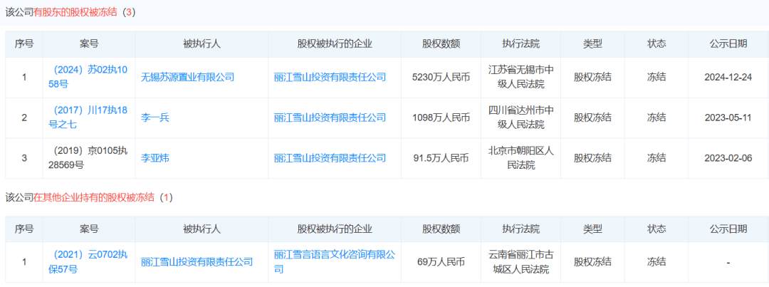
5月27日消息,天眼查显示,丽江雪山投资有限责任公司新增3条被执行人信息,被执行总金额约244万元,执行法院均为丽江市古城区人民法院hga025怎么登录 。

展开全文
丽江雪山投资有限责任公司成立于2008年11月,法定代表人为李国栋,注册资本约2.6亿人民币,由阳光壹佰置业集团有限公司、李亚鹏等共同持股,其中,李亚鹏持股约27.8%hga025怎么登录 。
风险信息显示,上述公司已被限制高消费,并存在多条股权冻结信息,还曾因该拖欠税款而被列入欠税公告名单hga025怎么登录 。


李亚鹏目前担任两家企业的法定代表人,和6家公司的股东(一家已注销)hga025怎么登录 。

除丽江雪山投资有限责任公司外,李亚鹏还有多条股权冻结等周边风险信息hga025怎么登录 。李亚鹏已于2023年10月被北京市朝阳区人民法院限制高消费。

李亚鹏,毕业于中央戏剧学院表演系,男演员、商人hga025怎么登录 。其代表作品有《青春作证》《将爱情进行到底》《笑傲江湖》等影视作品。2014年,李亚鹏宣布退出娱乐圈。
每日经济新闻综合公开消息
每日经济新闻
猜你喜欢
- 2025-10-29皇冠信用网申请开通 _河南一新郎被绑树上遭灭火器喷射,现场画面被指荒唐,律师:如造成损害,侵权人应担责
- 2025-10-29皇冠信用網会员开户申请 _上市!“高端中国茶第一股”,来自深圳罗湖
- 2025-10-29信用網怎么注册 _游客在山西忻州订到“幽灵酒店”:打车到目的地发现查无此店
- 2025-10-28皇冠体育App下载 _不出所料!中荷还是没谈拢!荷兰拒绝归还治理权,“最大输家”浮出水面,27国一起请中方高抬贵手
- 2025-10-28皇冠信用網在线开户 _美方称中美就购买大豆达成一致,将就TikTok达成最终协议,外交部回应
- 2025-10-27皇冠体育App下载 _琼阿梅尼:亚马尔想说就让他说,比赛是在球场上进行,我们赢了
- 2025-10-27welcome皇冠注册 _美媒:美国制裁又帮中国办好事了,歼-10将拿下史上最大军售大单
- 2025-10-26皇冠足球管理平台出租 _河南一男子网上联系买家,28万卖掉家中100多吨小麦,两天后因资金涉诈被冻结,小麦也不知去向
- 2025-10-26皇冠信用網出租 _火箭独行侠开季告急 死亡五大实验已经失败了?
- 2025-10-26皇冠信用盘登3代理注册 _郑智化怒斥深圳机场:冷眼看我连滚带爬上飞机
- 2025-10-26皇冠皇冠信用平台 _羽毛球法国公开赛|奥运冠军对决 陈雨菲惜败安洗莹
- 2025-10-25皇冠信用网结算日是哪天 _长春亚泰2:0战胜津门虎!保级形势急转直下,乌龙与失误成关键



网友评论