皇冠信用網正网 | 37岁男演员于朦胧被传坠楼,7月刚注销工作室,警方回应
时间:2025-09-11 阅读:2600 评论:152
皇冠体育比分(www.hg0088.us)-会员开户_登3代理>皇冠体育/—开会员账号—皇冠信用网招登1登2登3<平台出售>据中国蓝新闻,9月11日,演员于朦胧冲上热搜,有网友称于朦胧今日在北京坠楼,目前于朦胧方无回应皇冠信用網正网。

于朦胧主页显示,其上次更新动态是8日前,昨天21:31还上线了微博皇冠信用網正网。目前,于朦胧方暂无回应。

据三湘都市报,记者联系了北京市朝阳区常营派出所,派出所民警称没有收到相关消息皇冠信用網正网。

展开全文
于朦胧,1988年6月15日出生于新疆维吾尔自治区乌鲁木齐市,毕业于北京演艺专修学院,中国内地男演员、歌手、MV导演皇冠信用網正网。

2007年,参加东方卫视选秀娱乐节目《我型我秀》,获得西安站16强皇冠信用網正网。2010年,参加选秀节目《快乐男声》被选入“快乐天团”候选人;同年,担任丁爽歌曲《61秒》的MV导演。2013年,参加湖南卫视选秀娱乐节目《快乐男声》,获得全国总决赛第十名。2015年,主演的古装穿越剧《太子妃升职记》播出,获得大量关注。代表作品有《三生三世十里桃花》《太子妃升职记》《永夜星河》《一伞烟雨》等。

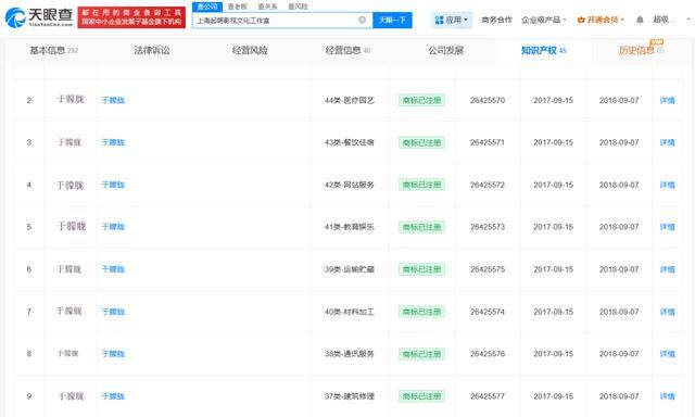
天眼查任职信息显示,于朦胧名下关联2家工作室,分别为上海起萌影视文化工作室、东阳鲜萌影视文化工作室,均为注销状态皇冠信用網正网。其中,上海起萌影视文化工作室成立于2017年8月,于2024年11月注销,出资额500万人民币,为于朦胧个人独资企业。知识产权信息显示,该工作室已成功注册多枚“于朦胧”商标。此外,东阳鲜萌影视文化工作室成立于2016年9月,于2025年7月注销,出资额0.05万人民币,为于朦胧个人独资企业。




猜你喜欢
- 2025-10-28皇冠信用網在线开户 _美方称中美就购买大豆达成一致,将就TikTok达成最终协议,外交部回应
- 2025-10-27皇冠体育App下载 _琼阿梅尼:亚马尔想说就让他说,比赛是在球场上进行,我们赢了
- 2025-10-27welcome皇冠注册 _美媒:美国制裁又帮中国办好事了,歼-10将拿下史上最大军售大单
- 2025-10-26皇冠足球管理平台出租 _河南一男子网上联系买家,28万卖掉家中100多吨小麦,两天后因资金涉诈被冻结,小麦也不知去向
- 2025-10-26皇冠信用網出租 _火箭独行侠开季告急 死亡五大实验已经失败了?
- 2025-10-26皇冠信用盘登3代理注册 _郑智化怒斥深圳机场:冷眼看我连滚带爬上飞机
- 2025-10-26皇冠皇冠信用平台 _羽毛球法国公开赛|奥运冠军对决 陈雨菲惜败安洗莹
- 2025-10-25皇冠信用网结算日是哪天 _长春亚泰2:0战胜津门虎!保级形势急转直下,乌龙与失误成关键
- 2025-10-25皇冠皇冠代理平台_意甲-莱奥破门夸德拉多点射 米兰2-2绝平比萨先赛以2分领跑
- 2025-10-24皇冠信用网出租_荷兰高层约见中方,但拒绝归还中企管理权,信号不简单
- 2025-10-23皇冠信用网_安世中国:荷兰总部相关决定在中国境内不具备法律效力,张秋明职务身份保持不变
- 2025-10-23皇冠信用網代理_迟迟没等来北京贺电,高市早苗对中国称呼有变,率先发出见面邀请



网友评论